QuickTime API Documentation

Previous | Chapter Top | Chapter Contents | Next |

Using QuickTime

Applications that use QuickTime fall into two categories: applications that can play existing movies, and applications that can create and edit movies. The following sections describe how applications of both types use QuickTime.

Playing Movies

QuickTime provides a complete set of tools that allow you to play movies in your application. You can also allow the user to position, resize, copy, and paste movies within the documents that your application creates and manipulates.

The Movie Toolbox provides functions that enable you to get a movie into your application; you can either get a movie from a file or from the scrap. Positioning the movie within a document varies with the application. For example, in a text document a movie might be repositioned with tab settings, whereas in a paint document the user might position the movie by selecting and dragging the movie rectangle.

Once you have loaded the movie into your document, you can allow the user to play it by calling the movie controller component provided by Apple. Figure 0-2 shows a sample movie controller.

Figure 0-5 A QuickTime movie with Apple's movie controller

Resizing the movie's rectangle is the same as resizing PICT rectangles within a text or paint document. When the user selects the movie, a selection rectangle appears with resizing handles at the corners of the rectangle, like those shown in Figure 0-6. The user can drag the handles to resize the movie rectangle.

Figure 0-6 A QuickTime movie with an active selection rectangle

Changing the size of a movie window may affect the performance of the video during playback as well as its appearance on the display.

Creating and Editing Movies

More sophisticated applications allow the user to create new movies and edit existing ones. An example of a movie-creating application is an electronic mail system that supports the creation and transmission of video memos. Other examples are an application that might be included in a video digitizer card package, an architectural walk-through program, or an application that creates animation sequences that can be saved as QuickTime movies.

Movie-creating applications fall into two categories:

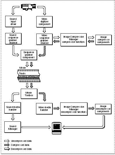
If you are creating an application that creates or edits movies, you are going to use more of the capabilities of the Movie Toolbox and the other managers that make up QuickTime. Figure 0-3 shows some of these other elements in an expanded view of the QuickTime architecture. For comprehensive information on the video digitizer component, the sequence grabber channel component, the sequence grabber component, and video and media handlers, see Inside Macintosh: QuickTime Components .

Figure 0-7 Capturing and playing back movies

Movie-Editing Applications

The Movie Toolbox includes functions that help your application provide movie-editing capabilities to the user. The easiest way to allow the user to edit a movie is to use the movie controller component provided by Apple.

Alternatively, you can use QuickTime's editing functions to remove, copy, replace, rearrange, or extend the content of movies. The user interface for editing is up to you, as long as you observe the guidelines suggested by Apple (see the chapter "Movie Toolbox" later in this book for more information on human interface guidelines for movie applications).

To give a user some simple editing tools, you could use the movie controller component to create a movie-editing window similar to the one shown in Figure 0-8.

Figure 0-8 Apple's movie controller with a portion of the movie selected for editing

This window gives the user access to various viewing and editing controls. These controls include a real-time position controller that allows random access over the length of the movie, single-step controls in both forward and reverse directions, visual feedback for selecting a sequence of frames in the movie, and a rectangular marker highlighting the currently displayed frame.

Movie-Creating Applications

Applications that create QuickTime movies can capture the movie's data from an external source and store it in a media. As with any movie, this data may be digitized video, digitized sound, computer animation, MIDI (Musical Instrument Digital Interface) data, external data such as an audio CD or videotape, and so on. Each type of data in a movie has an associated movie track. Movie tracks contain an edit list that sequences the data stored in the media.

The Movie Toolbox supplies functions that allow you to modify the edit list of the tracks in a movie to rearrange, remove, and extend the playback display sequence of the data in the movie. You can use these functions to create an application that captures external video and creates movies.

Figure 0-9 shows a sample user interface for a video-capture application. Before the user digitizes the data, the application displays an editing window (called a monitor window ) to help preview the information prior to capturing it.

Figure 0-9 A monitor window

Figure 0-10 shows a dialog box that this application provides to allow the user to select compression methods for video using the standard image-compression dialog component.

Figure 0-10 Compression settings


© 1997 Apple Computer, Inc.

QuickTime API Documentation

Previous | Chapter Top | Chapter Contents | Next |