PATHADC Home > Documentation > Hardware > Original iMac Developer Note

Up Previous Next


Architecture

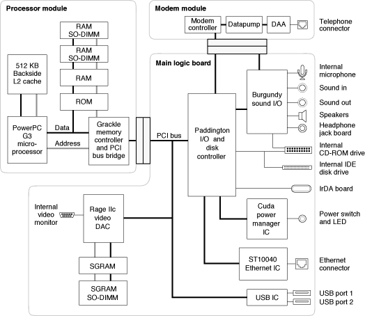
The components at the heart of the iMac computer reside on two printed-circuit boards: the main logic board and the processor module. The Figure 2-1 is a block diagram showing the major components on those boards. The components shown are described in the sections that follow.

Figure 2-1 Block diagram


Processor module

Main Logic Board


\xA9 1998 Apple Computer, Inc.

Up Previous Next