This chapter describes both the built-in I/O devices and the ports for connecting external I/O devices on the iMac G5. Each of the following sections describes an I/O port or device.
USB Ports
FireWire 400 Ports
Ethernet Port
AirPort Extreme Module
Internal Modem
Bluetooth Technology
Hard Disk Drive
SuperDrive
Combo Drive
Flat Panel Display
Video Monitor Port
Keyboard
Mouse
Audio
The iMac G5 has three external Universal Serial Bus (USB) 2.0 ports on the enclosure and an internal connection supports the Bluetooth module. The external USB ports are off of the USB controller connected to the PCI bus, bridged by Shasta. In addition, there are two USB 1.1 ports on the keyboard. The USB ports are used for connecting the keyboard and mouse as well as additional I/O devices such as printers, scanners, and storage devices.
The three external USB ports on the iMac G5 are fully compliant with the USB 2.0 specification, including support for high-speed (480 Mbps) devices using an Enhanced Host Controller Interface (EHCI). Ports are automatically routed to a companion OHCI controller when a classic-speed (full-speed or low-speed) USB device is attached to a root hub port.
The three external USB ports comply with the Universal Serial Bus Specification 2.0. The two ports on the keyboard comply with the Universal Serial Bus Specification 1.1 Final Draft Revision. For low-speed and full-speed devices, the USB register set complies with the Open Host Controller Interface (OHCI) specification. For high-speed devices, the USB register set complies with the Enhanced Host Controller Interface (EHCI) specification.
For more information about USB on Macintosh computers, please refer to Apple Computer’s Accessing Hardware from Applications and the other sources listed in “USB Interface.”
The USB ports use USB Type A connectors, which have four pins each. Two of the pins are used for power and two for data. Figure 3-1 is an illustration of a Type A port; Table 3-1 shows the signals and pin assignments.
The iMac G5 provides 5-volt power to the USB 2.0 ports. The maximum current available is 500 mA on each port.
The external USB 2.0 ports support low-speed (1.5 Mbps), full-speed (12 Mbps), and high-speed (480 Mbps) data transfers. High-speed operation requires the use of shielded cables.
The Macintosh USB system software supports all four data transfer types defined in the USB specification.
Features of the USB ports are listed in the following paragraphs.
USB devices can provide a remote wakeup function for the computer. The USB root hub in the computer is set to support remote wakeup whenever a device is attached to or disconnected from the bus. The keyboard that comes with the computer uses this method to wake the computer on a key press.
The Shasta ASIC contains special circuitry that allows the computer to wake from sleep mode on connect, disconnect, and resume events. Compatible USB devices should support the USB-suspend mode defined in the USB specification.
Class drivers are software components that are able to communicate with many USB devices of a particular kind. If the appropriate class driver is present, any number of compliant devices can be plugged in and start working immediately without the need to install additional software. The Mac OS for the iMac G5 supports USB Mass Storage specification.
The iMac G5 uses an Open Host Controller Interface (OHCI) controller for USB communication. Some early USB devices (most notably keyboards) can’t interoperate with an OHCI controller. Those devices are not supported by the Macintosh USB system software. The USB 2.0 controllers comply with the Enhanced Host Controller Interface (EHCI) specification.
The iMac G5 has two external FireWire 400 IEEE 1394a ports. The features of the FireWire 400 ports are:
Support serial I/O at 100, 200, and 400 Mbps (megabits per second)
Share 8 watts of power when the computer system is on
Support up to 62 devices
The FireWire hardware and software provided with the iMac G5 are capable of all asynchronous and isochronous transfers defined by IEEE standard 1394a.
The controller in the Shasta IC implements the FireWire link layer. The electrical signaling protocol of the FireWire interface is via the Vesta PHY.
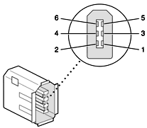
The FireWire 400 connector has six contacts, as shown in Figure 3-2. The connector signals and pin assignments are shown in Table 3-2.
When the computer is on, the power pins provide a regulated power and 8 W shared between two ports.
Important: The FireWire PHY (Vesta) does not operate from external bus power. As long as the computer is plugged into an active AC power outlet, the FireWire PHY is active and the FireWire bus remains connected. If AC power is interrupted, the PHY will stop operating and data on the bus cannot be repeated.
Pin 2 of the 6-pin FireWire 400 connector is ground for both power and inner cable shield. If a 4-pin connector is used on the other end of the FireWire cable, its shell should be connected to the wire from pin 2.
The signal pairs are crossed in the cable itself so that pins 5 and 6 at one end of the cable connect with pins 3 and 4 at the other end. When transmitting, pins 3 and 4 carry data and pins 5 and 6 carry clock; when receiving, the reverse is true.
For additional information about the FireWire interface and the Apple APIs for FireWire device control, developers should refer to the resources listed in “FireWire Interface.”
Mac OS X includes general support for the FireWire bus and specific support for various kinds of FireWire devices and protocols. Developers can use the built-in support or provide additional applications and drivers for use with their products.
The general FireWire services will configure the FireWire bus, scan the bus for new devices, and allow multiple drivers and devices to share a single FireWire interface cooperatively. The general services also publish information about the bus and the devices in the IO Registry, so that IO Kit can match protocols and drivers to each connected FireWire device.
The specific device and protocol support in Mac OS X as provided with the iMac G5 includes the following:
General services for Serial Bus Protocol 2 (SBP-2) and support for most mass storage devices using SBP-2, such as hard disk drives, optical drives, flash card readers, Target Disk Mode (see “Target Disk Mode,” and the iPod. Mac OS X can boot from most of these devices.
General services for the Audio Video Control (AV/C) protocol and support for most digital video (DV) cameras and decks using this protocol, including video capture through standard QuickTime APIs.
A QuickTime device driver for IIDC/DCAM type cameras such as the iSight.
A network device driver supporting IP (Internet Protocol) over FireWire according to IEEE RFC 2734.
Additional services for user-space and kernel access to all FireWire resources.
For information on writing FireWire drivers or applications, download the latest FireWire SDK from http://developer.apple.com/sdk/
The iMac G5 can boot from a FireWire storage device that implements SBP-2 (Serial Bus Protocol) with the RBC (reduced block commands) command set.
For additional information about the FireWire interface and the Apple API for FireWire device control, see the references shown in “FireWire Interface.”
The user has the option at boot time to put the computer into a mode of operation called Target Disk Mode (TDM).
When the iMac G5 is in Target Disk Mode and connected to another Macintosh computer by a FireWire cable, the iMac G5 operates like a FireWire mass storage device with the SBP-2 (Serial Bus Protocol) standard. Target Disk Mode has two primary uses:
high-speed data transfer between computers
diagnosis and repair of a corrupted internal hard drive
The iMac G5 can operate in Target Disk Mode as long as the other computer has a FireWire port and either Mac OS X (any version) or Mac OS 9 with FireWire software version 2.3.3 or later.
To put the iMac G5 into Target Disk mode, restart the iMac G5 and hold down the T key until the FireWire icon appears on the display. Then connect a FireWire cable from the iMac G5 to the other computer. When the other computer completes the FireWire connection, a hard disk icon appears on its desktop.
If the FireWire cable is disconnected or the iMac G5 is turned off while in Target Disk Mode, an alert appears on the other computer.
To take the iMac G5 out of Target Disk Mode, drag the hard disk icon on the other computer to the trash, then press the power button on the iMac G5.
The iMac G5 computer has a built-in Ethernet port that supports 10/100/1000 Mbps transfer rates. In operation, the actual speed of the link is auto-negotiated between the Ethernet PHY device (Vesta) and the bridge, router, hub, switch, or other Mac or PC to which it is connected. The Ethernet port is auto-sensing and self-configuring to allow connection via either a cross-over or straight-through cable.
Note: When connecting a iMac G5 computer directly to another computer without using an Ethernet hub, a crossover cable is not required; circuits in the PHY (Vesta) detect the type of connection and switch the signal configuration as required.
The controller in the Shasta IC implements the Ethernet link layer. The electrical signaling protocol of the Ethernet interface is via the Vesta PHY.
The connector for the Ethernet port is a an RJ-45 connector located on the I/O panel. Table 3-3 shows the signals and pin assignments for the 10Base-T and 100Base-TX operation. Table 3-4 shows the signals and pin assignments for 1000Base-T operation.
For connections using 1000Base-T operation, you must use 4-pair cable (Category 5 or 6).
The Ethernet interface in the iMac G5 computer conforms to the ISO/IEC 802.3 specification, where applicable, and complies with IEEE specifications 802.3i (10Base-T/UTP), 802.3u-1995 (100Base-TX), and 802.3ab (1000Base-T).
The iMac G5 comes standard with the AirPort Extreme, an internal wireless LAN module. By communicating wirelessly with a base station, AirPort Extreme can be used for Internet access, email access, and file exchange. A base station provides the connection to the Internet or the bridge between the wireless signals and a wired LAN or both. The AirPort Extreme Base Station has connectors for a wired LAN, a DSL or cable modem, and a standard telephone line using the built-in 56 Kbps modem that is available on some base stations.
The AirPort Extreme antenna is internal to the enclosure.
Complying with the IEEE 802.11g standard, AirPort Extreme transmits and receives data at rates up to 54 Mbps. Airport Extreme is also compatible with other Wi-Fi certified devices that comply with the IEEE 802.11b standard, including PC's. For more information about Wi-Fi and compatibility, see the reference at “Wireless Networks.”
Note: As is the case with the existing IEEE 802.11b standard, actual data throughput will be lower than the indicated maximum connection speeds.
AirPort Extreme has several features designed to maintain the security of the user’s data:
In 802.11b mode, the system uses direct-sequence spread-spectrum (DSSS) technology that uses a multi-bit spreading code that effectively scrambles the data for any receiver that lacks the corresponding code.
The system can use an Access Control List of authentic network client ID values (wireless and MAC addresses) to verify each client’s identity before granting access to the network.
When communicating with a base station, AirPort Extreme uses 64-bit and 128-bit WEP encryption and WPA personal and enterprise modes to encode data while it is in transit. Additional security features may be available via software or firmware upgrades as 802.11 enhancements are ratified by IEEE.
The AirPort Extreme Base Station can be configured to use NAT (Network Address Translation), protecting data from Internet hackers.
The AirPort Extreme Base Station can authenticate users by their unique Ethernet IDs, preventing unauthorized computers from logging into your network. Network administrators can take advantage of RADIUS compatibility, used for authenticating users over a remote server. Smaller networks can offer the same security using a local look-up table located within the base station.
As an additional data security measure, VPN can be used in conjunction with the AirPort Extreme data security.
AirPort Extreme is a fully-integrated, wireless LAN module compliant with the IEEE 802.11g standard using both OFDM (orthogonal frequency-division multiplexing) and DSSS technologies. Using DSSS, AirPort Extreme is interoperable with PC-compatible wireless LANs that conform to the 802.11b standard at speeds of 11 Mbps, 5.5 Mbps, 2 Mbps, and 1 Mbps. Using OFDM, AirPort Extreme is compatible with all 802.11g standard speeds.
The AirPort Extreme wireless interface is on the PCI bus.
The following software is provided to set up and use AirPort Extreme:
AirPort Extreme Setup Assistant, an easy-to-use program that guides users through the steps necessary to set up AirPort Extreme or set up an AirPort Extreme Base Station.
Users can switch between wireless networks and can create and join peer-to-peer networks. These functions are accessed via the AirPort Extreme status menu.
AirPort Extreme Admin Utility, a utility for advanced users and system administrators. With it the user can edit the administrative and advanced settings needed for some advanced configurations.
Retail configurations of the iMac G5 come with a built-in modem. The telephone connector for the modem is an RJ-11 connector on the I/O panel.
The modem has the following features:
modem bit rates up to 56 Kbps (supports V.90, V.92, and K56flex modem standards)
Group 3 fax modem bit rates up to 14.4 Kbps
The modem appears to the system as an I2S device that responds to the typical AT commands. The modem provides an analog sound output for monitoring the progress of the modem connection.
The iMac G5 comes standard with Bluetooth, a fully integrated, open specification that enables short-range wireless connections between desktop and laptop computers and a host of other peripheral devices. Bluetooth support is built into Mac OS X and compliant with Bluetooth specification 2.0 + EDR (enhanced data rate). It operates on a globally available 2.4 GHz frequency band (ISM band) for worldwide compatibility and has a maximum throughput of 3 Mbps.
Bluetooth 2.0 + EDR is backwards-compatible with Bluetooth 1.x.
The Bluetooth technology supports the following profiles:
serial port (SPP) —provides a wireless serial connection to other Bluetooth devices
dial-up networking (DUN) — enables a mobile phone to act as a modem
object push (OPP) —enables the transfer of files between Bluetooth devices
human interface device (HID) — enables the use of Bluetooth input devices (keyboards and mice)
Bluetooth file transfer profile (FTP) — enables browsing of the file system of other Bluetooth devices which support Bluetooth FTP
hardcopy cable replacement profiler (HCRP) — describes how to send rendered data over a Bluetooth link to a device, such as a printer. Although other profiles can be used for printing, the HCRP is specially designed to support hardcopy applications.
headset profile (HSP) — enables the use of Bluetooth-enabled wireless headsets for applications such as iChat. This profile does not enable use of Apple Speech Recognition due to the fact that it is a low-precision audio channel.
The Bluetooth antenna is internal to the enclosure.
For more information on Bluetooth technology, refer to “Bluetooth.”
The iMac G5 supports a 7200 rpm Serial ATA (SATA) disk drive with a capacity of 160 GB or 250 GB and a build-to-order option of 250 GB or 400 GB. For references to SATA website information, refer to “Serial ATA.”
The 20” configuration and some 17”configurations of the iMac G5 have a slot-loading, an 8x SuperDrive (combination DVD+R double-layer, DVD±RW, and CD-RW drive).
The drive can read and write DVD media and CD media, as shown in Table 3-5.
Digital audio signals from the SuperDrive can be played through the sound outputs under the control of the Sound pane in System Preferences.
The SuperDrive is configured as device 0 (master) by cable select jumper and complies with ATA/ATAPI-5 industry standard.
Some 17” configurations of the iMac G5 have a slot-loading combination CD-RW and DVD-ROM drive.
The drive can read DVD media and read and write CD media, as shown in Table 3-6.
Digital audio signals from the Combo drive can be played through the sound outputs under the control of the Sound pane in System Preferences.
The Combo drive is configured as device 0 (master) by cable select jumper and complies with ATA/ATAPI-5 industry standard.
The iMac G5 supports the ATI Radeon 9600 with 128 MB DDR RAM.
Measured diagonally, the flat-panel iMac G5 has a built-in 20-inch widescreen or a 17-inch widescreen display. The display is backlit by a cold cathode fluorescent lamp (CCFL). The display uses TFT (thin-film transistor) technology for high contrast and fast response.
The 17-inch display contains 1440x900 pixels and the 20-inch display contains 1680x1050 pixels. Both graphics subsystems can show up to millions of colors.
Both displays support 3D acceleration and display depths up to 24 bits per pixel at all screen resolutions. For more information, see “Graphics ICs.”
The graphics IC includes a scaling function that expands smaller-sized images to fill the screen. By means of the scaling function, the iMac G5 can show full-screen images at the resolutions listed in Table 3-7 for the 20” model and Table 3-8 for the 17” model.
The iMac G5 has a port for an external video monitor and supports video mirroring mode. Video mirroring mode displays the same information on both monitors, enabling the control of a presentation on one display, while allowing an audience to watch the presentation on a second display or projector.
Due to display mirroring, the external monitor could have black borders during mirroring, depending on the supported timings between the two displays and on the monitor’s selection algorithm. Both displays show full-sized images only when the display resolution for the second monitor is set to the first display’s native resolution: 1680x1050 on the 20-inch display and 1440x900 on the 17-inch display.
The external monitor supports user-selectable display sizes up to 2048x1536 at 75 Hz.
The video display connector is a 14-pin rectangular connector, Hosiden TCX3143, or compatible. The connector accepts either a VGA adapter or a composite adapter. The system requires a composite adapter to use composite output over this connector. The connector pins are identified in Table 3-3.
The pins and signals are listed in Table 3-9. An adapter is available for use with monitors with VGA 15-pin miniature D-type connectors.
The cable detect function on pin 13 is implemented by connecting pin 13 to ground in the display cable. The computer gathers the display's capabilities by reading its EDID (Extended Display Identification Data) via DDC.
The video display connector is compliant with the VESA specification.
The iMac G5 detects the type of display adapter that is plugged in and programs the graphics IC to route the appropriate video signals to the connector. The signal assignments on the video connector when the composite adapter is attached are shown in Table 3-10.
Composite video and S-video signals can be displayed on either an NTSC display or a PAL display. When a display is connected by way of the composite adapter, the computer detects this configuration and enables the composite and S-video outputs. The settings for the resolutions and standards (NTSC or PAL) are then selectable in System Preferences.
The iMac G5 comes with an Apple Keyboard. It is a full-size keyboard with function keys and separate numeric keypad and editing sections.
The keyboard has an attached 1-meter cable and comes with a 1-meter extender cable for installations where the computer is located away from the immediate desktop area. The iMac G5 supports the Apple wireless keyboard as a build to order option.
Here is a list of the features of the Apple Keyboard.
sloped design
109 keys (on the ANSI versions)
16 function keys
6 editing keys (Page Up, Page Down, Home, End, Forward Delete, and Help)
USB HID Consumer Page Usage multimedia control keys
full travel, standard pitch keys on alphanumeric, editing, and keypad sections, including function keys and cursor-position keys
localized worldwide: 33 versions, standard layouts (including: ANSI, JIS, ISO)
LED indicator on the Caps Lock key
USB hub functionality with two USB 1.1 sockets
There are localized versions of the Apple Keyboard for use in different parts of the world. The three standards used are ANSI (US and North America), JIS (Japan), and ISO (Europe).
Applications can determine which keyboard is connected by calling the Gestalt Manager and checking for the corresponding value of the gestaltKeyboardType selector.
Figure 3-4 shows the keyboard layout for the ANSI keyboard.
The keyboard has six multimedia keys: Volume Up, Volume Down, Mute, Brightness Up (F15), Brightness Down (F14), and Eject. Theses keys provide direct control of the features on the computer by way of the USB.
The Apple Keyboard is designed to work with the computer by way of the USB ports. The keyboard has a captive cable with a USB Type A connector. The keyboard is a bus-powered USB hub with two USB Type A ports.
Warning: A bus-powered hub as defined in the USB specification does not provide enough power to support a second bus-powered hub. A second bus-powered hub must be connected to a USB port on the computer or other self-powered hub, not to a port on the keyboard.
Apple provides a HID class driver for the Apple Keyboard, which supports the USB boot protocol. Other keyboards intended for use on the Macintosh platform must support the HID boot protocol, as defined in the USB Device Class Definition for Human Interface Devices (HIDs).
The list below provides helpful keyboard shortcuts to the Apple menu.
Control-Command-Eject: restart
Control-Command-Option-Eject: shut down
Control-Eject: display the dialog for shutdown, restart, and sleep
Option-Command-Eject: put system to sleep
The key combinations are decoded in software and may not be available under some system freeze conditions.
Current Macintosh computers do not have a programmer’s switch, which allowed users to generate a non-maskable interrupt (NMI). The paragraphs below describe how to generate an NMI from a remote session for systems that do not have a physical programmer's switch.
Starting with Mac OS X 10.1.2, the OS will promote and recognize the DB_NMI bit in the debug parameter of the “boot-args” property from Open Firmware. When the DB_NMI bit is set, the user can generate a non-maskable interrupt (NMI) by pressing the system's power button. This replaces the power button’s sleep or wake response. The system reads the state of the bit at boot time from the boot-args configuration variable. For more information about the debug flags, please see Inside Mac OS X: Kernel Programming.
To set the DB_NMI bit, enter the following command at the Terminal to display the current debug flag settings.
% nvram boot-args |
Add the parameter debug=0x4, as follows.
% sudo nvram boot-args="<current settings> debug=0x4" |
After the DB_NMI bit in the debug parameter is set, reboot the machine. After reboot, pressing the power button for approximately 1 second will generate an NMI.
Note: If the power button is pressed for more than five seconds, the system will immediately power off.
The power button will retain this functionality until Mac OS X is restarted without the DB_NMI bit set. To clear this bit, issue the nvram command omitting debug=0x4 parameter, as follows, then restart the machine.
% sudo nvram boot-args="" |
Note: The debug flags bit will be cleared if you use System Preferences to change the startup disk. It may also be cleared if you perform an installation that requires a restart.
The iMac G5 comes with the Apple Mouse, which uses optical tracking in place of the traditional rolling ball. It works on almost any surface, though non-reflective, opaque surface without repetitive patterns work best. The iMac G5 supports the Apple wireless mouse as a build to order option.
The iMac G5 sound system supports analog recording and both digital and analog playback.
The iMac G5 sound system features a combination output jack that supports both analog headphones output and optical digital output connectivity. Since a single connector is provided to support both headphone output and optical digital output connectivity, support of the headphones output and optical digital output is mutually exclusive. Audio output port selection is automatic. When no device is inserted into the output jack, internal speakers are selected. When an optical cable is connected to the output jack, optical digital output is selected. When an analog device is connected to the output jack, the headphones output is selected. It is not possible to simultaneous select or use more than one output at a time. Encoded audio, such as AC3, can be streamed only to the optical digital audio output. A mute control for the current active output port can be accessed in the Output section of the Sound pane in the System Preferences.
Digital playback features Sony / Philips Digital Interface (S/PDIF) when an optical cable is connected to the audio output jack. S/PDIF technology results in a clean audio signal with no added noise to or from the external audio device. The optical digital output supports both PCM and AC3 formats. Optical digital output encoding conforms to IEC 60958-3. The IEC 60958-3 category code encoding for non-encoded (i.e. PCM) audio formats indicates an optical laser – CD device. The IEC 60958-3 category code encoding for encoded (i.e. AC3) audio formats indicates an optical laser – DVD device.
Under control of the system software, the sound circuitry digitally creates and records sounds. The iMac G5 can receive input only from one of two analog input sources which includes a built-in microphone and line input. Hardware input gain control is supported over a range of –4dB to +20dB. The input gain control can be accessed using the Audio Midi Setup application included in the “Applications/Utilities” folder.
The sound circuitry and audio device drivers support audio data in multiple formats. Both digital and analog outputs support PCM audio at 16 and 24 bits with sample rates of 32.000 KHz, 44.100 KHz, 48.000 KHz, 64.000 KHz, 88.200 KHz and 96.000 KHz. In addition, the optical digital output also supports AC3 audio at 16 bits with sample rates of 32.000 KHz, 44.100 KHz, 48.000 KHz, 64.000 KHz, 88.200 KHz and 96.000 KHz.
If audio data recorded on another computer at a sample rate not supported by the iMac G5 hardware is played on the iMac G5, the Core Audio (Mac OS X’s OS Level Audio API) transparently sample rate converts the data to the current sample rate that has been selected on the iMac G5. To maximize audio fidelity, the Core Audio samples are stored as 32-bit floating point. The Sound Manager exists as a Carbon compatibility layer, but developers are encouraged to move their applications to Core Audio for maximum performance and fidelity, because the Sound Manager is not capable of supporting bit depths greater than 16 bits or sample rates greater than 48.000 KHz. Sample rates of 64.000 KHz, 88.200 KHz and 96.000 KHz are not supported by the Sound Manager. Bit depths of 24 bits are not supported by the Sound Manager.
For more information about audio APIs on Mac OS X, visit the Apple audio technologies developer web page at
http://developer.apple.com/audio/
Digital audio data is transmitted from the iMac G5 using an optical cable, commonly referred to as a TOSLink cable. The digital audio output format conforms to IEC60874-17.
The audio output connector on the iMac G5 is a 3.5mm electrical/optical combination (“combo”) jack. The combo jack accepts standard electrical audio cables with a 3.5 mm stereo plug, and standard TOSLink optical cables that have a 3.5 mm optical plug. Typically, TOSLink optical cables are available with standard friction-lock type F-05 plugs on each end. Adapters are available that attach to the F-05 plug and convert it to a 3.5 mm optical plug. TOSLink cables are available from pro-audio, musician’s supply, hi-fi and other retailers.
For details on the S/PDIF digital output format and performance specifications, refer to “Optical Digital Audio Output Specifications.”
During playback of a 1KHz, full-scale sine wave (S/PDIF output format, 44.1KHz output sample rate, 24-bit sample depth, unless otherwise specified) the digital audio output has the following nominal specifications:
Jack Type: 3.5mm Analog/Optical Combo Jack
Output Data Formats: S/PDIF (IEC60958-3), AC3
Output Sample Rates: 32KHz, 44.1KHz, 48KHz, 64KHz, 88.2KHz, 96KHz
Bits per Sample: 16 or 24 (S/PDIF),16 (AC3)
Frequency Response: 20Hz – 20KHz, +/-0dB
Signal-to-Noise Ratio (SNR): >130dB
Total Harmonic Distortion + Noise (THD+N): <-130dB (0.00003%)
Channel Separation: >130dB
The iMac G5 has a stereo audio line input jack on the back panel. The audio input is designed to accept audio signals with input levels ranging from 150mVRMS (-14.3dBu) to 3VRMS (+11.8dBu). The input gain should be set according to the input level so as not to clip the input to the A/D converter in the CODEC. Input gain control is supported over a range of –4dB to +20dB. The input gain control can be accessed using the Audio Midi Setup application included in the “Applications/Utilities” folder. The default input gain setting is 0dB, which will accommodate an input level of 2VRMS (+8.2dBu), which is the typical output level from CD players, DVD players and other consumer audio equipment. With an input gain setting of 20dB, the minimum recommended input level is 150mVRMS (-14.3dBu), which will correspond to 3dB below full-scale on the A/D converter in the CODEC.
The audio input jack is a 3.5 mm miniature phone jack with the signals connected as follows:
Tip | Left-channel audio |
Ring | Right-channel audio |
Sleeve | Audio ground |
During input of a 1KHz, full-scale sine wave (44.1KHz input sample rate, 24-bit sample depth, unless otherwise specified) the audio line input has the following nominal specifications:
Jack Type: 3.5mm Analog Jack
Input Sample Rates: 32KHz, 44.1KHz, 48KHz, 64KHz, 88.2KHz, 96KHz
Bits per Sample: 16 or 24
Input Impedance: > 20K Ohms
Input Gain Range: -4dB to +20dB
Typical Input Level (Input Gain = 0dB): 2VRMS (+8.2 dBu)
Maximum Input Level (Input Gain = -4dB): 3VRMS (+11.8dBu)
Minimum Input Level to Achieve Full Scale on A/D (Input Gain = 20dB): 200mVRMS (-11.8dBu)
Minimum Recommended Input Level (Input Gain = 20dB): 150mVRMS (-14.3dBu)
Frequency Response: 20Hz – 20KHz, +/-0.5dB
Signal-to-Noise Ratio (SNR): >90dB
Total Harmonic Distortion + Noise (THD+N): <-85dB (0.006%)
Channel Separation: > 85dB
The iMac G5 has a stereo audio output jack on the back of the enclosure. The audio headphones output is suitable for connecting amplified external speakers, audio equipment, or headphones.
The audio output connector on the iMac G5 is a 3.5 mm electrical/optical combination (“combo”) jack with the electrical signals connected as follows:
Tip | Left-channel audio |
Ring | Right-channel audio |
Sleeve | Audio ground |
Note: : For best results, equipment plugged into the headphones jack should not connect the audio ground to other grounds, such as the chassis or “green-wire” ground.
During playback of a 1KHz, full-scale sine wave (44.1KHz output sample rate, 24-bit sample depth, 100K ohm load, unless otherwise specified) the audio line output has the following nominal specifications:
Jack Type: 3.5mm Analog/Optical Combo Jack
Output Sample Rates: 32KHz, 44.1KHz, 48KHz, 64KHz, 88.2KHz, 96KHz
Bits per Sample: 16 or 24
Output Impedance: <50 Ohms
Output Level: 1.75VRMS (+7.1 dBu)
Frequency Response: 20Hz – 20KHz, +/-0.5dB
Signal-to-Noise Ratio (SNR): >90dB
Total Harmonic Distortion + Noise (THD+N): <-85dB (0.006%)
Channel Separation: >85dB
Output Power (Into 16 ohm Headphones): 60mW
© 2000, 2005 Apple Computer, Inc. All Rights Reserved. (Last updated: 2005-05-03)